Return to previous page | Return to menu | Proceed to next page
All software for the Sega Saturn must work flawlessly on multiple terminals, regardless of the number of players supported .
* Connecting a multi-terminal to a multi-terminal terminal is considered not connected in terms of hardware, so it does not need to be supported .
When connecting multiple terminals, the number of terminals and the number of players who can play will increase.〈 Supported input peripheral setting principles〉 The following principles, which are expanded upon, must be observed.
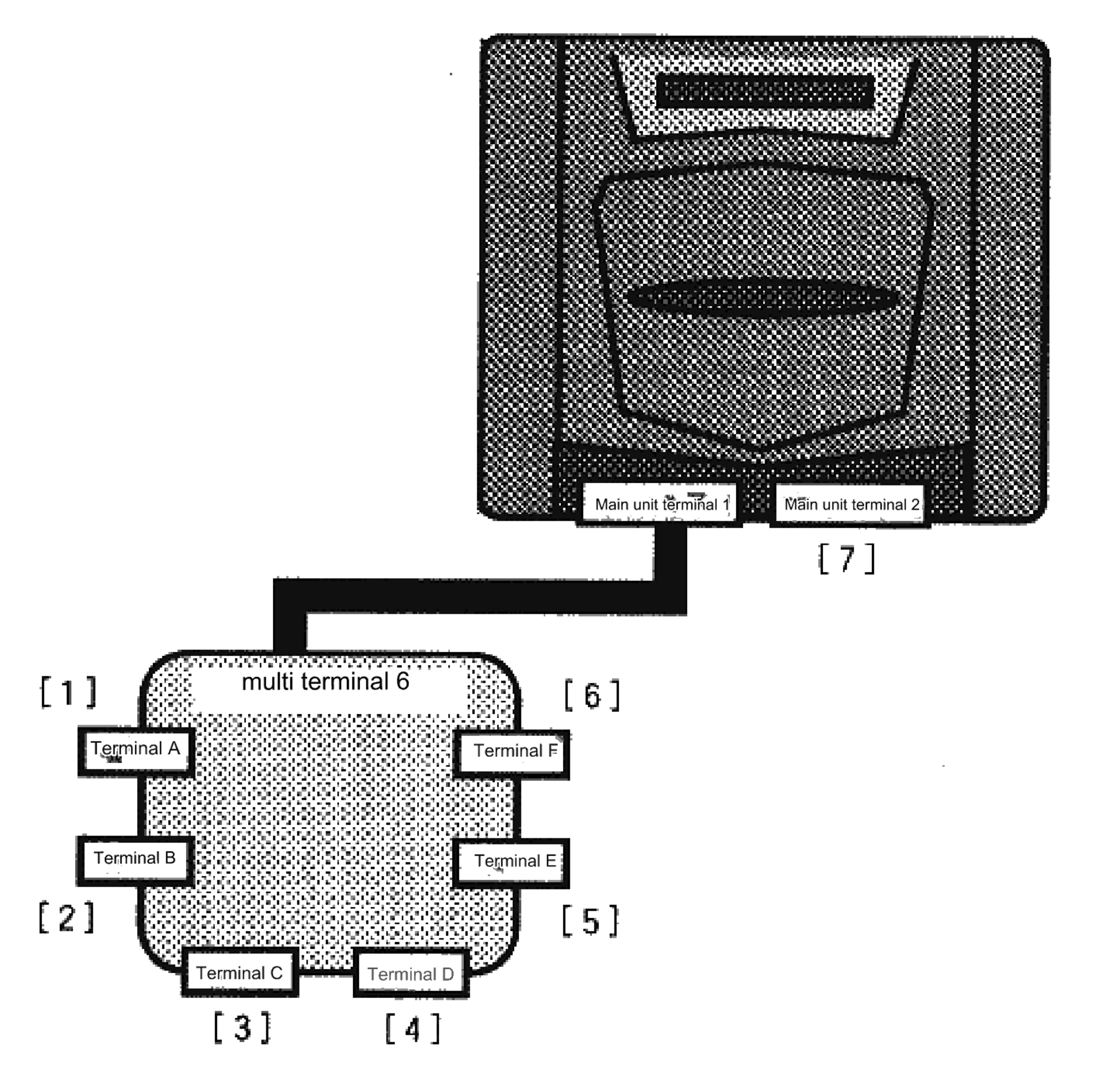
< Multi-terminal configuration principles> - Do not start the game if a compatible P or multi terminal is not connected to terminal 1 of the main unit. ・When a multi-terminal is connected to terminal 1 of the main unit, if the corresponding P is not connected to any terminal of the multi-terminal, the game must not be started. ・ When playing with multiple players, it must work properly regardless of whether the multi-terminal is connected to main unit terminal 1 or main unit terminal 2. (See connection example on next page) - When assigning operation numbers, depending on the connection status of the multi-terminal, priority should always be given to the terminal with the lowest number (the terminal on the left), and operation numbers must not be reversed. |
*Reversal of operation numbers means that originally, operation numbers should be assigned in ascending order from the smallest terminal number, but this is not the case.
*The terminals used do not necessarily have to be consecutive, as long as the operation numbers are not reversed. (This means that there may be space between the terminals used .)
*This connection example (2) is not recommended. In principle, connection example (1).
Check the input peripherals when using multi-terminal. As a general rule, "1. Basic items" shall be followed for areas where the content is not described .
《Recommended specifications》
| (a) Check before starting |
◆Checking compatible P (registering valid terminals)
| (b) Check at start |
◆Starting the application
*In multiplayer games where mid-game participation is possible, it may be possible to start from a point other than 1P.
◆Determining the terminal to be used
(i) Select the terminals to be used from among the valid terminals in descending order of terminal number to the left .
(ii) Select the terminals to be used from among the valid terminals in descending order of terminal number (assign operation numbers), but only those terminals whose start button is pressed at a specific location such as the title screen are used .
*In the case of rule (ii), operation numbers may be assigned to unused terminals.
*When applying rule (ii), the specifications must be such that the operation numbers do not cause confusion. (Display on the screen which players have joined the moment you press the start button, display input reactions on the screen, etc.)
| (c) Check in main game |
◆Checking for insertion and removal
(i) If unplugged
(ii) if it is posted;
*In either case, if you are in a pause state, wait for it to be released.
*Even if a P other than the removed used P is returned, if it is a corresponding P, input is resumed.
(iii) if replaced;
[When replaced with fewer terminals] (Multi-terminal → one peripheral)
→
It is assumed that it is inserted into the youngest terminal among the terminals before being replaced
(see Figures Appendix 2-9 and Appendix 2-10)
[When replaced with many terminals] (one peripheral → multi-terminal) → Only the youngest terminal among the replaced terminals is valid (see Figure Appendix 2-10)
(iii) if added;
In applications that use multiple terminals and have mid-term participation, there is a possibility that the operation number will be reversed if an additional terminal is inserted.
*The multi-terminal setting principle allows for free space between the terminals used, and also allows for additions during the main game in the case of [partial participation]. Therefore, if an additional terminal is inserted into a vacant terminal, there is a possibility that the operation number will be reversed.
In this case, the following rules shall be used to prevent the operation numbers from being reversed.
*This is based on the assumption that most multi-terminal users are using the terminal in a left-aligned connection state, as specified in the instruction manual.
(2. Multi Terminal 6, completed)
Return to previous page | Return to menu | Proceed to next page








